点击 929回复 0 原帖 2023-10-30 16:21 IP属地 江苏南京

生物反应器 - 定义、设计、原理、组成、类型、应用、局限

生物反应器定义

生物反应器设计
生物反应器原理
生物反应器的部件及其功能
  1. 发酵罐
  2.加热和冷却装置
  3、曝气系统
  4. 密封总成
  5.挡板
  6、叶轮
  7.分布器
  8. 进料口
  9.泡沫控制
  10.阀门
  11.环境因素控制装置
  12.计算机在发酵罐中的使用
生物反应器的种类
  1、连续搅拌罐发酵罐
  2、气升式发酵罐
  3、气泡柱发酵罐
  4.流化床发酵罐
  5.填充床发酵罐
  6.光生物反应器
  7. 膜生物反应器
生物反应器的应用
生物反应器的局限性
参考资料
图片

生物反应器定义



生物反应器是一种用于生产各种化学品和生物反应的发酵容器。它是一个密闭容器,具有适当的曝气、搅拌、温度和 pH 控制装置,以及排放或溢流孔,以去除培养微生物的废生物质及其产物。
生物反应器应提供以下内容:
1、搅拌(用于混合细胞和培养基), 
2、曝气(好氧发酵罐);对于 O2 供应,
3、调节温度、pH 值、压力、通气、营养供给和液位等因素。
4、灭菌和保持无菌状态,
5、提取细胞/培养基
生物反应器用于生产生物质、代谢物和抗生素。
图片
生物反应器
图片

生物反应器设计




生物反应器的设计和操作模式基于生物体的生产、所需产品形成所需的最佳条件、产品价值及其生产规模。
良好的生物反应器设计将有助于提高生产率并以更低的价格提供更高质量的产品。
生物反应器是一种由各种功能组成的设备,例如搅拌器系统、氧气输送系统、泡沫控制系统,以及各种其他系统,例如温度和 pH 控制系统、采样口、清洁和灭菌系统,以及装料和清空反应器的路径。
用于建造生物反应器的材料必须具有以下重要特性:
它不应该具有腐蚀性。
发酵培养基中不应添加任何有毒物质。
它应该耐受蒸汽灭菌过程。 
它应该能够承受高压并抵抗 pH 值变化。
生物反应器的尺寸因应用而异。 
一些生物反应器专为小规模发酵罐而设计,一些则用于从微生物细胞(几立方毫米)到摇瓶(100-1000 毫升)到实验室规模发酵罐(1 – 50 L)到中试水平(0.3 – 10 立方米) 到工厂规模 (2 – 500 立方米) 的大容量。
图片

生物反应器原理




生物反应器是任何生化过程的核心,因为它为微生物提供了获得最佳生长和产生代谢物的环境,用于将底物生物转化和生物转化为所需产物。
可以根据所用生物体的生长要求设计或制造反应器。 
反应器是一种可以将生物基材料转化为所需产品的设备。 
它们可用于生产各种酶和其他生物催化过程。
图片

生物反应器的部件及其功能



这些反应器的设计旨在保持某些参数,如流速、通气、温度、pH 值、泡沫控制和搅拌速率。
可监测和控制的参数数量受限于给定生物反应器中的传感器和控制元件数量
在设计如下所述和下图所示的发酵罐之前,还应牢记其他因素。
图片
图:生物反应器。图片来源:Kuila, A., & Sharma, V. (2018). Principles and applications of fermentation technology. John Wiley & Sons, Inc.
1. 发酵罐
发酵罐是一个上下封闭的大圆筒,与各种管道和阀门相连。
该容器的设计方式使其可以在受控条件下工作。 
玻璃和不锈钢是使用的两种发酵容器。
玻璃容器通常用于小型工业。它无毒且耐腐蚀。
不锈钢容器用于大型工业。它可以抵抗压力和腐蚀。
2.加热和冷却装置
发酵罐容器的外部装有密封容器并提供冷却水的冷却夹套。
恒温控制浴或内部线圈通常用于提供热量,而硅胶套用于去除多余的热量。
冷却夹套对于营养培养基的灭菌和去除发酵罐中发酵过程中产生的热量是必需的。
3、曝气系统
曝气系统是发酵罐中非常重要的部分之一。
选择良好的通气系统以确保整个培养过程中适当的通气和氧气供应非常重要。
它包含两个独立的曝气装置(分布器和叶轮)以确保发酵罐中的适当曝气。
搅拌完成两件事:
它有助于通过液体培养基混合气泡
它有助于通过液体培养基混合微生物细胞,确保微生物细胞均匀地获取营养物质。
4. 密封总成
密封组件用于密封搅拌器轴以提供适当的搅拌。
发酵罐内的密封组件分为三种:
填料压盖密封
机械密封
磁力驱动器
5.挡板
挡板结合到发酵罐中以防止涡流改善发酵罐中的通气。
它由径向固定在墙上的金属条组成。
6、叶轮
叶轮用于提供微生物细胞在不同营养培养基中的均匀悬浮液。
它们由附在盖子上的电机上的叶轮叶片组成。
叶轮叶片在减小气泡大小并将它们均匀分布到发酵介质中起着重要作用。
可变叶轮用于发酵罐,分类如下。
圆盘涡轮机
可变螺距开式涡轮机
7.分布器
分布器是用于将无菌空气引入发酵容器的系统。它有助于为容器提供适当的通风。
分布器管包含约 5-10 毫米的小孔,压缩空气通过这些孔释放。
使用三种类型的分布器
多孔分布器
喷嘴分布器
联合分布器-搅拌器
8. 进料口
它们用于向发酵罐中添加营养物质和酸/碱。 
进料口是由硅胶制成的管子。
在移除或添加产品之前执行原位灭菌。
9.泡沫控制
必须尽量减少容器中的泡沫水平以避免污染,这是发酵罐的一个重要方面。
泡沫由两个单元控制,泡沫传感和一个控制单元。
泡沫控制装置安装在发酵罐的顶部,具有进入发酵罐的入口。
10.阀门
发酵罐中使用阀门来控制容器中液体的运动。 
大约有五种类型的阀门被使用,即, 
截止阀, 
蝶阀, 
一个球阀,和 
隔膜阀。
空气和管道布局中内置安全阀,可在压力下运行
11.环境因素控制装置
各种设备被用来控制环境因素,如温度、氧气浓度、pH 值、细胞质量、必需营养素水平和产物浓度。
12.计算机在发酵罐中的使用
为了实现高效的过程、监控和数据收集,发酵罐通常与现代自动化和半自动化计算机和数据库相结合。
图片

生物反应器的种类



工业中广泛使用的发酵罐(生物反应器)类型是
1、连续搅拌罐发酵罐
连续搅拌罐生物反应器由一个圆柱形容器组成,中心轴由支持一个或多个搅拌器(叶轮)的电机控制。 
分布器与叶轮(搅拌器)相结合,可以改善整个容器中的气体分布。
搅拌罐生物反应器可以在发酵罐内连续运行,温度控制容易,施工便宜,操作方便,人工成本低,易于清洁。
它是工业中最常用的生物反应器类型。
图片
图:Continuous stirred tank fermentor. Image Source: Saran, S., Malaviya, A., & Chaubey, A. (2019). Introduction, scope and significance of fermentation technology. High Value Fermentation Products, 1–25. https://doi.org/10.1002/9781119460053.ch1
2、气升式发酵罐
气升式反应器一般用于气-液或气-液-固接触装置。它也被称为塔式反应器。 
使用气升系统的生物反应器将流体体积分为两个区域,以改善循环、氧气传输并平衡反应器中的力
在双区系统中,只有一个区被气体喷射。喷射气体的区域是立管;降液管中未喷射的区域。
气升式生物反应器用于有氧生物工艺技术,因此它们可以在使用泵的回收系统中提供受控的液体流动。 
该设备有几个优点,例如设计简单,因为它不包含任何移动部件或搅拌器、易于灭菌、能量需求低和成本低。
图片
图:Airlift fermentor. Image Source: Kuila, A., & Sharma, V. (2018). Principles and applications of fermentation technology. John Wiley & Sons, Inc.
3、气泡塔发酵罐
气泡塔发酵罐由一个装有气体分布器的圆柱形容器组成,该气体分布器将气泡推入液相或液-固悬浮液中。
柱底部空气或气体通过穿孔管或板或金属微孔分布器引入。
流体的流变特性和气体流速对O2的混合和其他性能因素有显着影响。
为了改善传质和修改容器的基本设计,在容器中放置了水平孔板、垂直挡板和波纹板填料等内部装置。
这些反应器结构简单,维护方便,运行成本低
鼓泡塔反应器用于生化过程,例如发酵和生物废水处理。它还用于许多化学、石化和生物化学工业。
图片
图: Bubble column fermentor. Image Source: Kuila, A., & Sharma, V. (2018). Principles and applications of fermentation technology. John Wiley & Sons, Inc.
4、流化床发酵罐
流化床生物反应器构成具有较小颗粒的填充床。这可以防止与填充床反应器相关的堵塞、高液体压降、沟流和床压实等问题。
催化剂置于反应器底部,反应物通过分配泵泵入反应器,使床层流化。
在这些反应器中,细胞是固定的小颗粒,它们随流体移动,因此增强了细胞的传质、氧转移和营养。
生物反应器可用于涉及流体悬浮生物催化剂的反应,例如固定化酶、固定化细胞和微生物絮凝物。
与其他催化反应器相比,它的主要优点包括能够保持均匀的温度、易于更换和再生催化剂、操作的连续性和自动化,以及减少气体和固体之间的接触时间。
图片
图:Fluidized-bed fermentor. Image Source: Singh, J., Kaushik, N., & Biswas, S. (2014). Bioreactors – Technology & Design Analysis. April 2016.
5、填充床发酵罐
填充床发酵罐是固体颗粒床,在固体基质之上或之内具有生物催化剂。
它可以在淹没模式(有或没有曝气)或滴流模式下运行。
填充床反应器常用于吸收、蒸馏、汽提、分离过程和催化反应等化学加工过程,也称为固定床反应器。
在填充床生物反应器中,空气通过支撑基质的筛子引入。
该反应器具有许多优点,如催化剂转化率高、易于操作、建造和运行成本低、反应物与催化剂之间的接触增加以及能够在高温和高压下工作。
图片
图:Packed bed fermentor. Image Source: Kuila, A., & Sharma, V. (2018). Principles and applications of fermentation technology. John Wiley & Sons, Inc.
6、光生物反应器
图片
图:Photobioreactor. Image Source: Singh, J., Kaushik, N., & Biswas, S. (2014). Bioreactors – Technology & Design Analysis. April 2016.
光生物反应器是一种专门用于发酵的装置,可以通过阳光直射或人工照明
它们由玻璃或更常见的透明塑料制成,管或平板由光接收系统组成。 
在这个生物反应器中,离心泵或气升泵可用于通过太阳能接收器循环介质。
光生物反应器通常在 25–40 °C 的温度范围内以连续模式运行。
光生物反应器用于微藻和蓝细菌的光合培养,以生产虾青素和 β-胡萝卜素等产品。
图片
图:光生物反应器的类型。图片来源:Singh, J., Kaushik, N., & Biswas, S. (2014). Bioreactors – Technology & Design Analysis. April 2016.
7、膜生物反应器
该系统将传统处理与膜过滤相结合,从而去除有机物和悬浮固体,并去除高营养水平。
该系统中的膜浸没在曝气生物反应器中。膜的孔径范围为 0.035 微米至 0.4 微米。
使用纯氧,该生物反应器的优势得到增强,从而产生更高速率的生物处理系统,可对 COD 和微生物进行紧凑控制。
图片
图:膜生物反应器。图片来源: Kuila, A., & Sharma, V. (2018). Principles and applications of fermentation technology. John Wiley & Sons, Inc.
图片

生物反应器的应用



生物反应器的一些重要应用是:
图片
图片

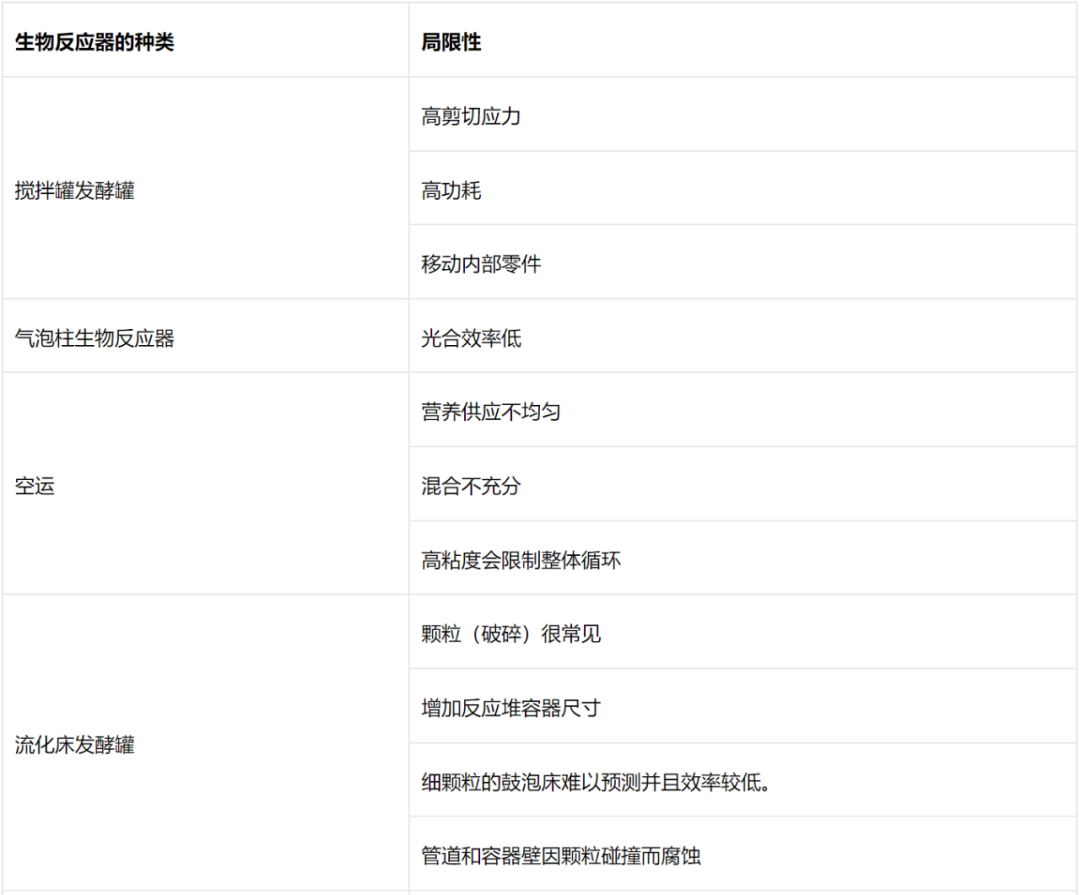
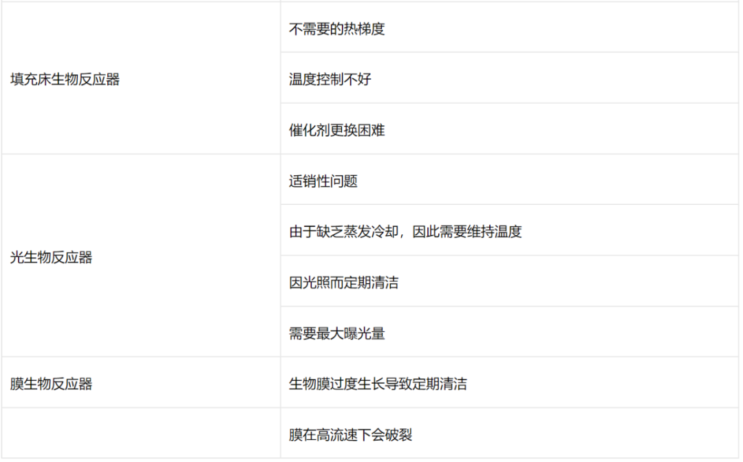
生物反应器的局限性



图片
图片
图片

参考文献



Chisti, Y. (2006). Bioreactor design. Basic Biotechnology: Third Edition, m, 181–200. https://doi.org/10.1017/CBO9780511802409.009
Ghosh, B., Bhattacharya, D., & Mukhopadhyay, M. (2018). Use of Fermentation Technology for Value-Added Industrial Research. Principles and Applications of Fermentation Technology, August, 141–161. https://doi.org/10.1002/9781119460381.ch8
Jaibiba, P., Vignesh, S. N., & Hariharan, S. (2020). Working principle of typical bioreactors. In Bioreactors. INC. https://doi.org/10.1016/B978-0-12-821264-6.00010-3
Mandenius, C.-F. (2016). Challenges for Bioreactor Design and Operation. Bioreactors, 1–34. https://doi.org/10.1002/9783527683369.ch1
Muniraj, I. K., Desikan, R., & Subburamu, K. (2019). Perspectives and Prospects of Fermentation Technology. Advances in Food Bioproducts and Bioprocessing Technologies, July 2020, 217–232. https://doi.org/10.1201/9780429331817-10
Kuila A and Sharma V (2018). In Principles and Applications of Fermentation Technology. https://doi.org/10.1002/9781119460381
Rose, A. H. (1985). Principles of fermentation technology. In Trends in Biotechnology (Vol. 3, Issue 9). https://doi.org/10.1016/0167-7799(85)90016-2
Singh, J., Kaushik, N., & Biswas, S. (2014). Bioreactors – Technology & Design Analysis. April 2016, 27–36.
Spier, M. R., Vandenberghe, L. P. D. S., Medeiros, A. B. P., & Soccol, C. R. (2011). Application of different types of bioreactors in bioprocesses. In Bioreactors: Design, Properties, and Applications (Issue February 2016).
Viswalingam, K., & Solomon, F. E. (2013). A Comparative Study on Bio Reactors. Indian Journal of Economics and Development, May, 104–107.
Zhong, J. J. (2010). Recent advances in bioreactor engineering. Korean Journal of Chemical Engineering, 27(4), 1035–1041. https://doi.org/10.1007/s11814-010-0277-5.


举报收藏 0打赏 0
网站首页  |  会员积分规则  |  服务条款  |  法律声明  |  关于我们  |  联系方式  |  使用协议  |  隐私政策  |  版权隐私  |  排名推广  |  广告服务  |  积分换礼  |  网站留言  |  帮助中心  |  网站地图  |  违规举报
苏ICP备2023016422号-7苏公网安备32011802010295